
聯系我們
INA MKUE-25-500-ZR..-N

- 型號:
- MKUE-25-500-ZR..-N
- 品牌:
- INA
- 系列:
- MKUE..-ZR
- 起訂量:
- ≥ 1套
- 物流:
- 全國配送

- 電話:

恩梯必專業銷售INA MKUE-25-500-ZR..-N,能為客戶提供各種技術服務,軸承選型及型號替代等解決方案,需要MKUE-25-500-ZR..-N最新規格、圖紙、報價等資料可聯系我司銷售部!
- 許用靜扭矩
- M0x
- 500
- Nm
- 直線導軌系統的許用靜扭矩 這些數值是單一載荷,當執行器的下部完全被支承時使用。 當承受聯合載荷時,這些值必須減小。 關于導軌系統的設計標準,見PF1樣本。
- M0y
- 6500
- Nm
- 直線導軌系統的許用靜扭矩 這些數值是單一載荷,當執行器的下部完全被支承時使用。 當承受聯合載荷時,這些值必須減小。 關于導軌系統的設計標準,見PF1樣本。
- M0z
- 6500
- Nm
- 直線導軌系統的許用靜扭矩 這些數值是單一載荷,當執行器的下部完全被支承時使用。 當承受聯合載荷時,這些值必須減小。 關于導軌系統的設計標準,見PF1樣本。
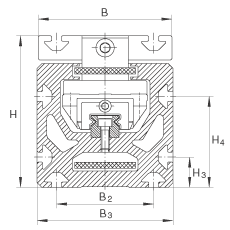
- 尺寸
- ly
- 712
- cm^4
- 慣性矩
- lz
- 506
- cm^4
- 慣性矩
- 說明
- 50 AT 10
- 齒形帶
- 1880
- N
- 齒形帶的許用工作載荷
- 75
- Nm
- 最大驅動力矩
- 0.315
- kg/m
- 齒形帶的質量
- 250
- mm/Umdr
- 進給量(mm/轉)
- 14.7 x 10^-4
- kg x m^2
- 兩個齒輪的質量慣性矩
- 尺寸
- D1
- 95
- mm
- 公差:G7
- D2
- 76
- mm
- H1
- 58
- mm
- 公差: +/-0,5
- H2
- 115.7
- mm
- H3
- 25
- mm
- H4
- 75
- mm
- L1
- 513
- mm
- O
- M8
- T
- 4
- mm
- 公差: +0,5
- 重量
- mLaw
- 6600
- g
- 滑塊的質量
- mtot
- (Ltot - 230) x 0.0169 + 14.8
- kg
- 質量
- 說明
- L2 = 總行程 + L1 + 12 L tot = 總行程 + L1 + L2 + 231 總行程= 有效行程 + 2 x S S指適合于特殊應用的安全范圍,應該至少為85 mm;總行程單位為mm。 最大單根支承軌長度 L2 = 8,000 mm
- 基本額定載荷
- C
- 26300
- N
- 直線循環球軸承及導軌組件的基本額定載荷 注意:此數值只適用于 Lh 壽命的計算。
- C0
- 41800
- N
- 直線循環球軸承及導軌組件的基本額定載荷 注意:此數值只適用于 Lh 壽命的計算。
- 尺寸
- H
- 125
- mm
- D
- 115
- mm
- B
- 110
- mm
- L
- 500
- mm
- 說明
- 滑塊有兩個定位槽
- 尺寸
- B1
- 80
- mm
- 公差: +/-0,2
- B2
- 80
- mm
- B3
- 112
- mm
相關型號推薦:
23960-B-K-MB+AH3960G
23964-K-MB+AH3964G
23972-K-MB+AH3972G
23976-K-MB+AH3976G
23980-B-K-MB+AH3980G
23984-K-MB+AH3984G
23988-K-MB+AH3988
23992-B-K-MB+AH3992
23996-B-K-MB+AH3996
239/500-K-MB+AH39/500
239/530-K-MB+AH39/530
239/560-B-K-MB+AH39/560
239/600-B-K-MB+AH39/600
239/630-B-K-MB+AH39/630
239/670-B-K-MB+AH39/670
熱門型號排行榜: INA SD18X24X3 INA SD18X26X4 INA SD19X27X4 INA SD20X26X4 INA SD20X28X4 INA SD22X28X4 INA SD22X30X4 INA SD25X32X4 INA SD25X33X4 INA SD25X35X4 INA SD26X34X4 INA SD28X35X4
熱門型號排行榜: INA SD18X24X3 INA SD18X26X4 INA SD19X27X4 INA SD20X26X4 INA SD20X28X4 INA SD22X28X4 INA SD22X30X4 INA SD25X32X4 INA SD25X33X4 INA SD25X35X4 INA SD26X34X4 INA SD28X35X4
FAG軸承型號搜索
FAG-INA軸承產品中心
產品中心
產品搜索
類別目錄
四川恩梯必有限公司 版權所有







